Riese & Müller Original-Betriebsanleitung für E-Bikes und Cargo-Bikes
Start

Wir freuen uns, dass Sie sich für ein E-Bike von Riese & Müller entschieden haben.
Unsere E-Bikes sind dafür gemacht, zu Ihrem täglichen Begleiter zu werden. Sie leisten damit einen entscheidenden Beitrag zu einer modernen Mobilität. Dafür möchten wir uns bei Ihnen bedanken. Damit Sie sicher unterwegs sind und lange Freude an Ihrem E-Bike haben, finden Sie in dieser Betriebsanleitung die wichtigsten Hinweise. Bitte lesen Sie sie sorgfältig durch.
Allzeit gute Fahrt!
Ihr Team von Riese & Müller

EG-Konformitätserklärung
EG-Konformitätserklärung gemäß Maschinenrichtlinie 2006/42/EG
Riese & Müller GmbH
Am Alten Graben 2
64367 Mühltal
Deutschland
Marke: Riese & Müller
Modelle:
- Charger4
- Charger4 Mixte
- Cruiser
- Cruiser Mixte
- Cruiser2
- Cruiser2 Mixte
- Culture
- Culture Mixte
- Delite
- Delite4
- Homage
- Homage4
- Load 60
- Load 75
- Load4 60
- Load4 75
- Multicharger
- Multicharger Mixte
- Multicharger2
- Multicharger2 Mixte
- Multitinker
- Nevo
- Nevo4
- Packster 70
- Packster2 70
- Roadster
- Roadster Mixte
- Roadster4
- Roadster4 Mixte
- Supercharger
- Superdelite
- Swing
- Swing4
- Tinker2
- Transporter 65
- Transporter 85
- Transporter2 65
- Transporter2 85
- UBN Five
- UBN Seven
- UBN Six Produktbezeichnung / Typ: E-City und E-Trekking
Modelle:
- Delite mountain
- Superdelite mountain
Produktbezeichnung / Typ: E-MTB
Modelljahr: 2024
Für die bezeichneten Produkte bestätigen wir, dass sie die Anforderungen der folgenden Europäischen Richtlinien erfüllen und damit den einschlägigen Harmonisierungsrechtsvorschriften der Gemeinschaft entsprechen:
- 2006 / 42 / EG Maschinen-Richtlinie
- 2014 / 30 / EU Richtlinie zur Elektromagnetischen Verträglichkeit (EMV) oder 2014 / 53 / EU Richtlinie zur Bereitstellung von Funkanlagen
- 2014 / 35 / EU Niederspannungsrichtlinie
- 2011 / 65 / EU Beschränkung der Verwendung bestimmter gefährlicher Stoffe in Elektronikgeräten (RoHS-Richtlinie)
- 2012 / 19 / EU Elektro- und Elektronik-Altgeräte (WEEE-Richtlinie)
- DIN EN ISO 12100:2011 Sicherheit von Maschinen – Allgemeine Gestaltungsleitsätze – Risikobeurteilung und Risikominderung
- DIN EN ISO 20607:2019 Sicherheit von Maschinen – Allgemeine Gestaltungsleitsätze – Betriebsanleitung
- DIN EN 15194:2017 Fahrräder – Elektromotorisch unterstützte Räder – EPAC
Ergänzend gilt für den Typ E-MTB:
- DIN EN 15194:2017 Fahrräder – Elektromotorisch unterstützte Räder – EPAC in Ergänzung der DIN EN ISO 4210:2015 Fahrräder – Sicherheitstechnische Anforderungen an Fahrräder (MTB)
Ort: Mühltal
Datum: 01.08.2023

ppa. Markus Papke
Chief Innovation Officer

Felix Ströder
Head of Development
📘 Über diese Anleitung
Diese Anleitung steht Ihnen in verschiedenen Formaten zur Verfügung:
Online-Vollversion
Der komplette Text dieser Anleitung im HTML-Format mit erweiterten Navigationsfunktionen.
Sie können diese Version der Anleitung in einem Webbrowser auf Ihrem Computer, Tablet oder Smartphone …
- lesen,
- drucken,
- als PDF speichern und
- in Ihrem Browsser in andere Sprachen übersetzen lassen,
… wenn Ihr Webbrowser und das Betriebssystem Ihres Endgerätes diese Funktionen unterstützen.
Hier finden Sie jederzeit die aktuelle Online-Vollversion dieser Anleitung:
https://showcase.9to5.de/brand_riese_und_mueller/riese_mueller_manual_german.htm
Online-Kapitelversion
Diese Anleitung im HTML-Format, unterteilt in einzelne, miteinander verkettete Kapitel, mit erweiterten Navigationsfunktionen.
Sie können diese Version der Anleitung in einem Webbrowser auf Ihrem Computer, Tablet oder Smartphone …
- kapitelweise lesen;
- einzelne Kapitel drucken,
- Kapitel als PDF speichern und
- Kapitel in andere Sprachen übersetzen lassen,
… wenn Ihr Webbrowser und das Betriebssystem Ihres Endgerätes diese Funktionen unterstützen.
Hier finden Sie das erste Kapitel der Online-Kapitelversion dieser Anleitung:
https://showcase.9to5.de/brand_riese_und_mueller/riese_mueller_manual_german/start.htm
EPUB-Vollversion
Der komplette Text dieser Anleitung im EPUB-Format.
Sie können diese Version der Anleitung in einem EPUB-Leseprogramm (Reader) auf Ihrem Computer, Tablet oder Smartphone …
- lesen und alle von Ihrem EPUB-Leseprogramm unterstützten Funktionen (Markieren von Inhalten, Kommentare, Notizen) nutzen.
Wenn Sie über ein Amazon-Konto verfügen, können diese Version der Anleitung auch mit der Funktion „Send to Kindle“ an Ihren Amazon-Kindle-Account senden, um das Dokument dann in allen Ihren angemeldeten und synchronisierten Kindle-Geräten und Kindle-Apps zu nutzen.
Beachten Sie bitte, dass eine auf diese Weise in das Kindle-Format konvertierte Version der Anleitung nicht automatisch aktualisiert wird, wenn eine neue Version der Anleitung veröffentlicht wird.
Hier finden Sie jederzeit die aktuelle EPUB-Vollversion dieser Anleitung zum Download:
https://showcase.9to5.de/brand_riese_und_mueller/assets/manuals/riese_mueller_manual.epub
Navigations- und Assistenzfunktionen
In den HTML-Versionen dieser Bedienungsanleitung stehen Ihnen zusätzliche Funktionen zur Verfügung.
Um die nachfolgend beschriebenen Funktionen nutzen zu können, darf die JavaScript-Unterstützung Ihres Browsers nicht deaktiviert sein.
- Navigieren zum vorherigen und nächsten Element desselben Typs:
Bei bestimmten Elementen (Überschriften der ersten und zweiten Ebene, Abbildungen und Tabellen) können Sie mit den Navigationselementen am Ende auf das vorherige und nächste Element desselben Typs wechseln.- Um zum vorherigen Element desselben Typs zu wechseln, klicken oder tippen Sie auf das Zeichen „ ‹ “ am Ende des Elements.
- Um zum nächsten Element desselben Typs zu wechseln, klicken oder tippen Sie auf das Zeichen „ › “ am Ende des Elements.
- Lesezeichen für Überschrift / Abschnitt:
Bei bestimmten Elementen (Überschriften der ersten und zweiten Ebene, Abbildungen und Tabellen) können Sie dessen Adresse in die URL-Leiste Ihres Browsers übernehmen. Diese Adresse können Sie dann in Ihrem Webbrowser als Lesezeichen speichern oder mit Dritten teilen, um sie direkt auf eine bestimmte Information zu verweisen.- Um ein Lesezeichen für ein Element zu setzen, klicken oder tippen Sie auf das Zeichen „ ° “ am Ende des Elements.
Das Element wird dann am Anfang des Fensters platziert, und seine Adresse wird in die URL-Leiste Ihres Browses übernommen.
- Um ein Lesezeichen für ein Element zu setzen, klicken oder tippen Sie auf das Zeichen „ ° “ am Ende des Elements.
- Transkludierte Glossar-Einträge:
Einzelne Begriffe in dieser Anleitung sind mit Glossareinträgen verlinkt, die Erläuterungen enthalten. Wenn Sie auf einen solchen Link klicken, wird der entsprechende Glossareintrag direkt in das Hauptdokument geladen, sodass Sie ihn nach der Lektüre einfach wieder schließen und weiterlesen können. Der Haupttext wird dabei nicht überdeckt oder ersetzt. Sie können also einfach weiterlesen. Hier ist zum Beispiel ein Eintrag zum Thema „Schnellspanner“.
Hinweise und Anforderungen
Allgemeine Hinweise
Lesen Sie diese Anleitung für Ihr E-Bike vor der ersten Fahrt komplett und aufmerksam durch. Bitte beachten Sie folgende Symbole:
Warnung!
Bezeichnet eine möglicherweise drohende Gefahr. Wenn sie nicht gemieden wird, können Stürze und schwerste Verletzungen die Folge sein.
Beispiel: mit schlecht gesicherter Ladung fahren.
Hinweis
Bezeichnet eine möglicherweise schädliche Situation. Wenn sie nicht gemieden wird, können Materialschäden am E-Bike oder seinen Komponenten die Folge sein.
Beispiel: nicht den vorgeschriebenen Minimaldruck des Reifens einhalten.
Führen Sie zu Ihrer eigenen Sicherheit vor jeder Fahrt den Kurzcheck gemäß Kapitel „Vor jeder Fahrt“ durch.
Die Bedienungsanleitungen der Hersteller aller verbauten Komponenten finden Sie unter www.r-m.de/downloads.
Registrieren Sie Ihr E-Bike unter www.r-m.de/register, um von der erweiterten Premium- Garantie zu profitieren.
Die Ihnen vorliegende Betriebsanleitung behandelt primär Sicherheitsrelevantes rund um Ihr E-Bike. Bedienungshinweise für zum Beispiel Schaltung, Display, Akkuentnahme oder Zubehör finden Sie in unseren Videos unter www.r-m.de/video-guides.
Wenn Ihr E-Bike über einen RX Chip verfügt, dann wird dieser erst nach der Buchung des gewünschten RX Services aktiviert. Informationen zu den Funktionen und dem Service finden Sie unter www.r-m.de/rx-service. Für Fragen darüber hinaus schreiben Sie uns bitte eine E-Mail an rx-service@r-m.de.
Bei allen weiteren Fragen wenden Sie sich bitte an Ihren Fachhändler.
Sicherheitshinweise
Warnung!
Diese Betriebsanleitung beinhaltet Kurzchecks, die zwischen den vorgeschriebenen, vom Fachhändler durchzuführenden Inspektionen notwendig werden können.
Führen Sie niemals darüber hinausgehende Arbeiten an Ihrem E-Bike durch. Diese verlangen besonderes Fachwissen, spezielles Werkzeug und spezifische Fertigkeiten und können deswegen nur vom Fachhändler durchgeführt werden.
Fahren Sie niemals mit unvollständig oder unsachgemäß durchgeführten Montagearbeiten an Ihrem E-Bike. Sie gefährden damit sich und andere Verkehrsteilnehmer.
Warnung!
Beachten Sie beim Aufsteigen, dass das E-Bike bei eingeschaltetem Unterstützungsmodus sofort losfährt, sobald Sie den Fuß auf das Pedal setzen.
Ziehen Sie daher erst die Bremse an, da der ungewohnte Schub sonst zu Unsicherheiten und im schlimmsten Fall zu Stürzen, Unfällen und Gefährdungen führen kann.
Steigen Sie auch nicht auf, indem Sie mit dem einen Fuß auf das Pedal steigen und versuchen, das andere Bein über das Fahrrad zu schwingen; das E-Bike würde unmittelbar einen Satz nach vorne machen.
Warnung!
Bevor Sie an Ihrem E-Bike Arbeiten vornehmen, zum Beispiel zur Montage oder Wartung, oder es transportieren, schalten Sie das E-Bike-System aus und entnehmen Sie den Akku.
Bei unbeabsichtigter Aktivierung des E-Bike-Systems besteht Verletzungsgefahr.
Hinweis
Auch wenn es keine offizielle Altersbeschränkung zum Fahren der 25 km/h-Modelle gibt, raten wir Ihnen aus Sicherheitsgründen davon ab, Kinder und Jugendliche unter 14 Jahren damit im Straßenverkehr fahren zu lassen.
Hinweis
Sollten Sie länger nicht mehr Fahrrad gefahren sein oder sich in manchen Situationen unsicher fühlen, empfehlen wir den Besuch eines E-Bike-Fahrkurses.
Beachten Sie, dass Sie generell deutlich schneller unterwegs sein werden als gewohnt. Fahren Sie vorausschauend und seien Sie bremsbereit, sobald unübersichtliche Situationen oder mögliches Gefahrenpotenzial in Ihr Sichtfeld kommen.
Bedenken Sie ebenfalls, dass Fußgänger Sie nicht hören, wenn Sie sich mit hoher Geschwindigkeit nähern. Fahren Sie daher auf Radwegen und kombinierten Rad- und Fußgängerwegen besonders rücksichtsvoll und vorausschauend, um Unfälle zu vermeiden. Setzen Sie gegebenenfalls die Glocke beziehungsweise Hupe rechtzeitig als Warnung ein.
Tragen Sie im Straßenverkehr immer radgerechte, helle Bekleidung mit eng anliegenden Hosenbeinen und Schuhwerk, welches zum montierten Pedalsystem passt.
Aus Gründen der Fahrsicherheit empfehlen wir bei jeder Fahrt das Tragen eines passenden Helms.
Hinweis
Sichern Sie Ihr E-Bike bei jedem Abstellen gegen Diebstahl und unbefugten Zugriff.
Gesetzliche Anforderungen
Wenn Sie mit Ihrem E-Bike am öffentlichen Straßenverkehr teilnehmen möchten, muss es entsprechend den nationalen Vorschriften ausgestattet sein. Rechtlich sind unsere 25 km/h-Modelle dem Fahrrad gleichgestellt und unterliegen deshalb den gleichen Regulierungen.
In Deutschland sind diese in der Straßenverkehrs-Zulassungs-Ordnung (StVZO) und der Straßenverkehrs-Ordnung (StVO) geregelt.
In der Schweiz stehen die gültigen Regelungen in den Verordnungen über die technischen Anforderungen an Straßenfahrzeuge in den Artikeln 213 bis 218.
Für die Teilnahme am öffentlichen Straßenverkehr in Österreich müssen Sie sich nach der 146. Verordnung / Fahrradverordnung richten. Diese finden Sie im Bundesgesetzblatt Österreich.
Hinweis
Lassen Sie sich vor Gebrauch Ihres E-Bikes durch Ihren Fachhändler über die rechtlichen Besonderheiten in Ihrem Land beraten und informieren. Vor allem S-Pedelecs (HS-Modelle) unterliegen besonderen Regelungen, die hier nicht für jedes Land aufgeführt sind.
Der A-bewertete Emissionsschalldruckpegel an den Ohren des Fahrers liegt unter 70 dB(A).
Gesetzliche Bestimmungen für S-Pedelecs (HS-Modelle, Unterstützung bis 45 km/h) in Deutschland
Sie benötigen einen Motorrad- oder einen anderen Kraftfahrzeugführerschein, der die Klasse AM beinhaltet, um ein S-Pedelec im öffentlichen Straßenverkehr zu bewegen.
Sie müssen ein Versicherungskennzeichen erwerben und montieren.
Das Tragen eines geeigneten Helms ist vorgeschrieben. In den Niederlanden wird ein Helm gemäß NTA 8776 gefordert. Diese NTA 8776-Helme werden auch in Deutschland als geeignete Helme anerkannt.
Seit dem 1.1.2018 muss die bauartbedingte Höchstgeschwindigkeit bei Riese & Müller S-Pedelecs auf den COC-Papieren mit ca. 45 km/h angegeben werden. Somit dürfen nach derzeit geltender StVO keine Radwege befahren werden.
Es dürfen keine Kinder in Anhängern transportiert werden. Darüber hinaus gibt es derzeit auch keine für diese Fahrzeugkategorie geprüften Anhängerkupplungen auf dem Markt.
Ihr Fahrzeug ist durch eine Typgenehmigung in seiner technischen Ausführung festgelegt. Daher können Änderungen und Anbauten bestimmter Komponenten Ihres S-Pedelecs zu einem Erlöschen der Betriebserlaubnis führen.
Die Originalbereifung darf gegen einen ECE-R75-Reifen gleicher Breite und gleichen Durchmessers getauscht werden (andere Reifengrößen sind möglich, siehe Angaben im Fahrzeugschein).
Für alle anderen Teile gilt, dass sie entweder Originalteile beziehungsweise solche mit einer Allgemeinen Betriebserlaubnis (ABE) sein müssen oder von einem akkreditierten Prüfinstitut eingetragen werden müssen.
Bestimmungsgemäßer Gebrauch
Ihr Riese & Müller E-Bike wurde hinsichtlich seines spezifischen Einsatzzwecks entwickelt und lässt sich einer der nachfolgenden Kategorien zuordnen. Sie sollten Ihr E-Bike nicht über den bestimmungsgemäßen Gebrauch hinaus belasten.
Kategorie 1
- Bestimmungsgemäßer Einsatzzweck:
-
Pendeln und Freizeitfahrten unter moderater Anstrengung
- E-Bike-Typ:
-
Straßen-E-Bike ohne Hinterradfederung
- Beschreibung:
-
Betrifft E-Bikes, die auf normalen, befestigten Oberflächen genutzt werden, auf denen die Reifen bei durchschnittlicher Geschwindigkeit Bodenkontakt halten sollen.
- Typischer Bereich der Geschwindigkeit [km/h]:
-
15 bis 25, HS-Modelle: 15 bis 45
- Bestimmungsgemäße Drop-/Sprunghöhe [cm]:
-
< 15
Kategorie 2
- Bestimmungsgemäßer Einsatzzweck:
-
Freizeitfahrten und Trekking unter moderater Anstrengung
- E-Bike-Typ:
-
Straßen-E-Bikes mit Vollfederung oder GX-Option
- Beschreibung:
-
Betrifft E-Bikes, für die die Bedingung 1 gilt und die darüber hinaus auch auf unbefestigten Straßen und Schotterwegen mit moderaten Anstiegen und Gefällen genutzt werden. Unter diesen Bedingungen kann es zu Kontakt mit unebenem Gelände und zu wiederholtem Verlust des Reifenkontakts mit dem Boden kommen. Drops sind auf 15 cm oder weniger begrenzt.
- Typischer Bereich der Geschwindigkeit [km/h]:
-
15 bis 25, HS-Modelle: 15 bis 45
- Bestimmungsgemäße Drop-/Sprunghöhe [cm]:
-
< 15
Kategorie 3
- Bestimmungsgemäßer Einsatzzweck:
-
Sportfahrten mit mäßigem technischem Anspruch der Wege
- E-Bike-Typ:
-
Straßen-E-Bikes mit Vollfederung und GX-Option
- Beschreibung:
-
Betrifft E-Bikes, für die die Bedingungen 1 und 2 gelten und die darüber hinaus auch auf unwegsamen Pfaden, unebenen unbefestigten Straßen sowie im schwierigen Gelände und auf nicht erschlossenen Wegen genutzt werden, und für deren Verwendung technisches Können erforderlich ist. Sprünge und Drops betragen weniger als 30 cm.
- Typischer Bereich der Geschwindigkeit [km/h]:
-
15 bis 45
- Bestimmungsgemäße Drop-/Sprunghöhe [cm]:
-
< 30
Kategorie 4
- Bestimmungsgemäßer Einsatzzweck:
-
Sportfahrten mit sehr herausforderndem technischem Anspruch der Wege
- E-Bike-Typ:
-
E-MTB
- Beschreibung:
-
Betrifft E-Bikes, für die die Bedingungen 1, 2 und 3 gelten und die für Abfahrten auf unbefestigten Wegen bei Geschwindigkeiten von weniger als
40 km/h verwendet werden. Sprünge können in Ausnahme 80 cm betragen, wenn der Landebereich mehr als 30° Gefälle hat.
Typischer Bereich der Geschwindigkeit [km/h]: 15 bis 40
- Bestimmungsgemäße Drop-/Sprunghöhe [cm]:
-
< 80
Riese & Müller E-Bikes sind nicht für die Teilnahme an Wettbewerben zugelassen.
Die in dieser Bedienungsanleitung beschriebenen Betriebs-, Wartungs- und Instandhaltungsbedingungen sind Teil des bestimmungsgemäßen Gebrauchs. Bei Benutzung des E-Bikes über diesen bestimmungsgemäßen Gebrauch hinaus, wenn Sicherheitshinweise nicht eingehalten werden, bei Überladung oder unsachgemäßer Beseitigung von Mängeln wird keine Haftung oder Sachmängelhaftung (Gewährleistung) übernommen. Ebenso wird keine Haftung und Sachmängelhaftung übernommen bei Montagefehlern, Vorsatz, Unfällen oder wenn die Vorgaben für Wartung und Pflege nicht eingehalten werden. Ein Verändern der Übersetzung und Veränderungen am elektrischen System (Tuning) führen zum Verlust aller Ansprüche aus Sachmängelhaftung und Garantien.
Hinweis: Gewerbliche Nutzung
Gemäß der europäischen Genehmigungsverordnung (EU) Nr. 168/2013 beträgt die Dauerhaltbarkeit für ein E-Bike der Fahrzeugklasse L1e-B 16.500 km. Diesen Wert legen wir auch für unsere E-Bikes mit einer Motorunterstützung bis 25 km/h zugrunde.
Die gewerbliche Nutzung wie auch die Vermietung beziehungsweise Verleih stellen eine wesentlich höhere Beanspruchung an das Fahrzeug dar. Aus dem Grund behalten wir uns das Recht vor, etwaig auftretende Sachmängelfälle gegebenenfalls abzulehnen, die bei gewerblich genutzten Fahrzeugen auftreten und die aufgrund des Überschreitens der Lebensdauer (16.500 km) des Fahrzeugs oder der Komponente innerhalb des gesetzlichen Sachmängelhaftungszeitraums auftreten. Zur vollständigen Abdeckung aller Sachmängel innerhalb der Sachmängelhaftung ist ein Nachweis der ausgeführten Inspektionen gemäß Wartungsplan erforderlich.
Ihr E-Bike ist grundsätzlich nur für die Fortbewegung einer einzelnen Person zugelassen. Ausnahmen bilden unsere Cargo-Bikes, wenn sie mit entsprechenden Sitzen ausgestattet sind oder die Mitnahme von einem Kind in einem geeigneten Kindersitz oder Kinderanhänger. Beachten Sie dabei die Bestimmungen Ihrer nationalen Gesetzgebung und das zulässige Gesamtgewicht (siehe „Gewichtsangaben“).
Hinweis: Zulässiges Gesamtgewicht
Zulässiges Gesamtgewicht =
Gewicht Fahrer + Gewicht E-Bike + Gewicht Zuladung + Gewicht Anhänger
Vor der ersten Fahrt
Wenn Sie Ihr E-Bike bei einem autorisierten Fachhändler abholen, wurde Ihr E-Bike bereits in einen fahrbereiten Zustand versetzt, damit eine sichere Funktion gewährleistet ist. Ihr Fachhändler hat eine Endkontrolle und eine Probefahrt durchgeführt.
Wenn Sie Ihr E-Bike über Home Delivery erhalten haben, wurde Ihr E-Bike bereits im Werk in einen fahrbereiten Zustand versetzt und eine Endkontrolle durchgeführt. Sollte eine Montage erforderlich sein, halten Sie sich an die beiliegende Montageanleitung.
Diese beinhaltet auch Erläuterungen zur Einstellung von Sitzposition und Federung, zur Bedienung des Antriebssystems und zur Handhabung des Akkus.
Da jedes E-Bike ein anderes Fahr- und Kurvenverhalten hat, sollten Sie sich abseits des Straßenverkehrs auf ebenen und abschüssigen Straßen mit dem Lenk-, Kurven- und Bremsverhalten vertraut machen, sowohl mit als auch ohne Beladung. Vor allem Cargo-Bikes oder neuartige Fahrzeugkonzepte können sich vom bisher gewohnten Fahrverhalten unterscheiden. Machen Sie sich mit der Funktion aller Bedienelemente vertraut. Um Ihnen den Einstieg zu erleichtern, finden Sie Expertenvideos zu verschiedenen Themen auf www.r-m.de/video-guides.
Bremsanlage
Warnung!
Moderne Bremsen haben eine sehr viel stärkere Bremskraft als einfache Felgen- oder Trommelbremsen! Prüfen Sie, ob die Belegung der Bremshebel Ihren Gewohnheiten entspricht. Besprechen Sie andernfalls die Belegung der Bremshebel mit Ihrem Fachhändler. Standardmäßig ist der Bremshebel für die Vorderradbremse links und für die Hinterradbremse rechts montiert (umgekehrte Belegung der Bremshebel für Länder mit Linksverkehr). Führen Sie auf jeden Fall einige Probebremsungen abseits des Straßenverkehrs durch. Tasten Sie sich langsam an stärkere Verzögerungen heran. Ein unbedachtes Betätigen der Bremsen kann zum Sturz führen. Bei Nässe verlängert sich der Bremsweg.
Das Vorderrad von Lastenrädern kann beim Bremsen leichter blockieren, was in Kurven zum Sturz führen kann.
Vor dem ersten Bremsen sollten die Bremsscheiben mit Bremsenreiniger oder Spiritus gründlich entfettet werden. Die Bremsbeläge entwickeln ihre endgültige Bremskraft erst während der Einfahrphase. Beschleunigen Sie hierfür auf ebener Strecke auf 25–30 km/h und bremsen Sie mit einer Bremse bis zum Stillstand ab. Diesen Vorgang wiederholen Sie 30-mal pro Bremse. Danach sind die Bremsbeläge und -scheiben eingefahren und bieten die optimale Bremsleistung.
Warnung!
Bei voller Beladung ändert sich das Fahrverhalten und der Bremsweg wird länger. Auf abschüssigen Straßen verlängert sich der Bremsweg zusätzlich. Machen Sie einige Fahr- und Bremsversuche mit und ohne Zuladung, damit Sie sich an das geänderte Fahrverhalten gewöhnen.
Antriebssystem / Display und Schaltung
Lassen Sie sich von Ihrem Fachhändler die Bedienung des Antriebssystems, des Displays und der Schaltung erklären oder schauen Sie sich unsere Videos auf www.r-m.de/video-guides an.
An den Tasten der Bedienelemente am Akku beziehungsweise an der Fernbedienung am Lenker können Sie das System ein- und ausschalten. Außerdem können die verschiedenen Unterstützungsmodi gewählt werden, die verbleibende Akkukapazität wird angezeigt und die verschiedenen Tacho-Funktionen können ggf. ausgewählt werden. Nach dem Einschalten wird das System durch das Treten der Pedale aktiv und die Motorunterstützung ist verfügbar. Beginnen Sie Ihre erste Fahrt mit der niedrigsten Antriebsunterstützung und gewöhnen Sie sich an den zusätzlichen Schub.
Für einen NOT-HALT / NOT-AUS ziehen Sie den Bremshebel der Hinterradbremse und hören auf zu pedalieren. Das E-Bike hält an.
Machen Sie sich außerhalb des Straßenverkehrs mit dem Antriebssystem, dem Display und der Schaltung vertraut. Weitere Informationen zur Bedienung aller verbauten Komponenten finden Sie unter www.r-m.de/downloads.
Sitzposition
Lassen Sie sich von Ihrem Fachhändler die richtige Sitzposition einstellen und erklären.
Warnung!
Machen Sie sich mit dem Halt Ihrer jeweiligen Schuhe auf den Pedalen vertraut. Je nach Material der Schuhbesohlung oder bei kalter und / oder nasser Witterung können Pedale rutschig werden.
Federung
Lassen Sie sich von Ihrem Fachhändler die Federung einstellen und erklären. Damit die Federgabel und der Dämpfer optimal funktionieren, müssen sie auf Fahrergewicht, Sitzhaltung und Einsatzzweck abgestimmt werden. Beim Aufsitzen sollten die Federgabel und der Dämpfer um ca. 20 % des maximalen Federweges eintauchen.
Warnung!
Durch eine Federung des Hinterbaus verändert sich während der Fahrt der Abstand der Pedale zum Boden. Halten Sie in Kurven oder bei Überfahren von Bodenwellen die Kurbelarme immer in der horizontalen Position, um ein Aufsetzen der Pedale und einen möglichen Sturz zu vermeiden.
Akku
Lassen Sie sich von Ihrem Fachhändler das Einsetzen und Herausnehmen des Akkus zeigen und erklären oder schauen Sie sich unsere Videos hierzu auf www.r-m.de/video-guides an. Prüfen Sie nach jedem Einsetzen des Akkus, dass er fest sitzt. Drücken Sie den Akku in seine Halterung, bis er mit einem hörbaren Klicken im Schloss einrastet. Nehmen Sie den Schlüssel aus dem Schloss und ziehen Sie am Akku, um sicherzustellen, dass er tatsächlich eingerastet ist. Bei manchen E-Bikes ist der Akku waagerecht oder senkrecht hängend am Rahmen befestigt. Halten Sie den Akku unbedingt mit einer Hand fest, bevor Sie den Schlüssel im Schloss drehen, damit sich der Akku nicht unkontrolliert löst und herunterfällt. Dies kann Verletzungen verursachen und den Akku beschädigen.
Warnung!
Ein nicht richtig eingesetzter Akku kann sich während der Fahrt lösen und herausfallen. Dies kann einen Sturz verursachen und den Akku beschädigen. Achten Sie beim Einsetzen des Akkus darauf, dass dieser richtig einrastet, und kontrollieren Sie den festen Sitz des Akkus.
Empfohlene Temperaturbereiche
| Größe | Wert |
|---|---|
| Temperatur beim Laden (°C) | 0 … +40 |
| Temperatur bei Betrieb (°C) | -5 … +40 |
| Temperatur bei Lagerung (°C) | +10 … +40 |
| Empfohlener Ladezustand bei einer Betriebspause (%) | 30-60 |
| Empfohlener Ladezyklus bei längerem Nichtgebrauch des Akkus | alle 6 Monate |
Gepäckträger / Kindersitze
Bitte beachten Sie, dass an den Gepäckträgern keine Änderungen vorgenommen werden dürfen. Nutzen Sie nur geprüfte und zugelassene Kindersitze.
Anhänger / Trailerbikes
Vollgefederte Riese & Müller E-Bikes sind nur für die Nutzung mit zweirädrigen Anhängern freigegeben. Die maximale Anhängelast (Anhänger inklusive Zuladung) beträgt 50 kg.
Riese & Müller E-Bikes ohne Hinterradfederung sind auch für die Verwendung von Einspuranhängern und Trailerbikes freigegeben. Die maximale Anhängelast beträgt bei Einspuranhängern und Trailerbikes 30 kg.
Vor jeder Fahrt
Fahren Sie nur, wenn Sie den folgenden Kurzcheck vollständig durchgeführt haben und zu einem einwandfreien Ergebnis gekommen sind. Suchen Sie im Zweifelsfall Ihren Fachhändler auf. Ein fehlerhaftes E-Bike kann zu Unfällen führen.
Hinweis: Nach einem Sturz oder Unfall
Nach einem Sturz oder Unfall sollten Sie tunlichst Ihr E-Bike erst wieder benutzen, wenn es von Ihrem Fachhändler auf eventuelle Schäden untersucht wurde.
Kurzcheck
Prüfen Sie vor jeder Fahrt folgende Punkte an Ihrem E-Bike:
- Schnellspanner / Steckachsen haben einen sicheren Sitz und sind fest geschlossen.
- Verschraubungen sitzen weder lose, noch klappern sie.
- Der Lenker ist fest fixiert (sowohl Lenker als auch Vorbau auf Verdrehen prüfen, Pin bei höhenverstellbarem Vorbau ist eingerastet) und weist kein ungewöhnliches Verhalten beim Lenken nach links und rechts auf (zum Beispiel Spiel in der Lenkung, ungleichmäßiger Widerstand oder weicheres / indirekteres Lenkgefühl als gewohnt).
- Laufräder und Reifen lassen sich leicht drehen und haben ausreichenden Rundlauf. Prüfen Sie den Luftdruck und Zustand der Reifen und den geraden Sitz der Ventile.
- Front- und Rücklicht funktionieren und sind richtig eingestellt.
- Bremshebel weisen einen deutlichen Druckpunkt auf und lassen sich nicht bis zum Griff durchziehen.
- Bremsbeläge und Bremsscheiben sind unversehrt sowie fett-/ölfrei. Prüfen Sie sie auch auf Verschleiß.
- Am Bremssystem tritt beim Ziehen und Halten der Bremshebel an keiner Stelle Öl aus.
- Der Bremsanker bei Rücktrittbremsen sitzt fest.
- Der Akku sitzt nach dem Einsetzen fest. Der Akku muss mit einem hörbaren Klicken im Schloss einrasten.
- Die Transportboxen sind fachgerecht befestigt und sicher verschlossen.
- Die Zuladung ist sicher befestigt. Es dürfen keine losen Befestigungsmittel vorhanden sein, die sich in den Rädern verfangen können (zum Beispiel herunterhängende Enden von Spanngurten).
- Das zulässige Gesamtgewicht mit Beachtung der angegebenen einzelnen Zuladungen wird nicht überschritten (siehe „Gewichtsangaben“).
- Es klappert nichts. Es treten keine ungewöhnlichen Fahrgeräusche auf und das Fahrgefühl ist nicht schwammig.
- Die Beladung ist nicht einseitig. Fahrverhalten und Bremsweg können sich dadurch ändern.
- Die Beleuchtung und Reflektoren sind nicht verdeckt.
Komponenten: Funktion und Handhabung
Schnellspanner / Q-Loc-Steckachse / Steckachse
Warnung!
Fahren Sie nie mit einem E-Bike, dessen Laufradbefestigungen Sie nicht vor Fahrbeginn kontrolliert haben! Falls sich ein Laufrad während der Fahrt löst, ist ein Sturz die Folge!
Aufbau Schnellspanner
Der Schnellspanner besteht aus zwei Teilen: dem Handhebel A und der Klemmmutter B.
Mit dem Handhebel A wird eine Klemmkraft erzeugt. Mit der Klemmmutter B auf der gegenüberliegenden Seite wird die Vorspannung eingestellt.
Handhabung von Schnellspannern
1. Öffnen
- Handhebel A umlegen, sodass auf der Innenseite „Open” zu lesen ist.
- Drehen Sie zum weiteren Lösen des Schnellspanners die Klemmmutter B gegen den Uhrzeigersinn.
2. Schließen
- Den geöffneten Handhebel A mit einer Hand festhalten und die Klemmmutter B mit der anderen Hand im Uhrzeigersinn drehen.
- Ziehen Sie die Klemmmutter B an, bis eine ausreichende Vorspannung erreicht ist.
- Legen Sie jetzt mithilfe des Handballens den Handhebel A so um, dass auf der Außenseite „Close” zu lesen ist.
- Während der zweiten Hälfte des Verschlussweges muss die Hebelkraft deutlich zunehmen.
3. Überprüfen:
- Überprüfen Sie den Sitz des Schnellspanners, indem Sie versuchen, den geschlossenen Handhebel A zu drehen.
Lässt sich der Handhebel A im Kreis drehen, ist der sichere Sitz des Laufrads nicht gewährleistet. - Öffnen Sie in diesem Fall den Handhebel A und erhöhen Sie die Vorspannung an der Klemmmutter B.
Aufbau Q-Loc-Steckachse
- Die Steckachse besteht aus zwei fest verbundenen Komponenten, dem Handhebel A und der Mutter B.
- Mit dem Handhebel A wird eine Klemmkraft erzeugt und mit der Mutter B die Vorspannung eingestellt.
Handhabung der Q-Loc-Steckachse
1. Öffnen
- Handhebel A umlegen, sodass auf der Innenseite „Open” zu lesen ist.
- Drücken Sie zum weiteren Lösen die Mutter B in Richtung des Handhebels A und drehen Sie diese im Uhrzeigersinn, bis die Kralle arretiert ist.
- Ziehen Sie die Steckachse anschließend am Handhebel A heraus.
2. Schließen
- Drehen Sie die Mutter B gegen den Uhrzeigersinn, bis die Kralle sich aus der Arretierung löst.
- Schieben Sie die Steckachse mit geöffneter Kralle durch Gabel und Nabe, bis sie mit einem hörbaren Klickgeräusch einrastet.
- Legen Sie mithilfe des Handballens den Handhebel A um, sodass auf der Außenseite „Close” zu lesen ist.
3. Überprüfen
- Überprüfen Sie den sicheren Sitz der Steckachse, indem Sie versuchen, den geschlossenen Handhebel A zu drehen.
Lässt sich der Handhebel A im Kreis drehen, ist der sichere Sitz des Laufrads nicht gewährleistet. - Öffnen Sie in diesem Fall den Handhebel A und erhöhen Sie die Vorspannung an der Mutter B.
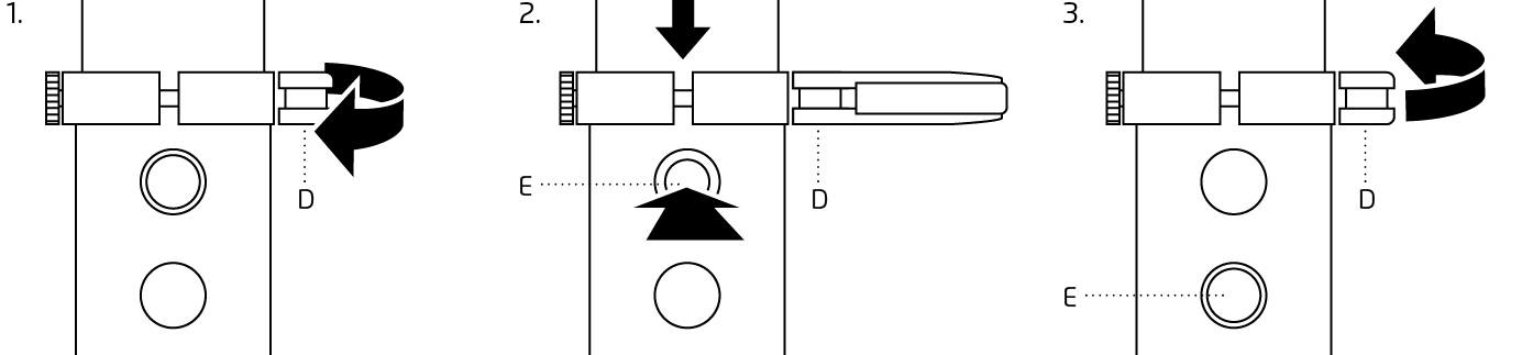
Aufbau Steckachse
Die Steckachse besteht aus zwei fest verbundenen Komponenten, dem Handhebel A und der Achse mit Gewinde. Eine Steckachse erlaubt eine schnelle und werkzeuglose Montage beziehungsweise Demontage des Laufrads.
Handhabung der Steckachse
1. Öffnen
- Handhebel A umlegen, sodass auf der Innenseite „Open” zu lesen ist.
- Drehen Sie zum weiteren Lösen den Handhebel A gegen den Uhrzeigersinn.
- Ziehen Sie die Steckachse anschließend am Handhebel A heraus.
2. Schließen
- Stecken Sie die Achse mit dem Gewinde zuerst durch Gabel und Nabe.
- Drehen Sie die Steckachse am Handhebel im Uhrzeigersinn, bis eine leichte Vorspannung erreicht ist.
- Legen Sie mithilfe des Handballens den Handhebel A um, sodass auf der Außenseite „Close” zu lesen ist.
- Während der zweiten Hälfte des Verschlussweges muss die Hebelkraft deutlich zunehmen.
3. Überprüfen
- Überprüfen Sie den sicheren Sitz der Steckachse, indem Sie versuchen, den geschlossenen Handhebel A zu drehen.
Lässt sich der Handhebel A im Kreis drehen, ist der sichere Sitz des Laufrads nicht gewährleistet. - Öffnen Sie in diesem Fall den Handhebel A und erhöhen Sie die Vorspannung.
Handhabung der Inbus-Steckachse
1. Öffnen
- Schrauben Sie die Steckachse mithilfe eines 6 mm-Innensechskantschlüssels (Inbus) gegen den Uhrzeigersinn lose.
- Ziehen Sie die Steckachse anschließend heraus.
2. Schließen
- Stecken Sie die Achse mit dem Gewinde voran durch Gabel und Nabe.
- Schrauben Sie die Steckachse mithilfe eines 6 mm-Innensechskant-Drehmomentschlüssels im Uhrzeigersinn fest.
- Das benötigte Anzugsdrehmoment finden Sie in Kapitel „Anzugsmomente für Verschraubungen“.
Sattelhöhe / Sitzposition
Alle E-Bikes sind mit einer verstellbaren Sattelstütze ausgestattet. Lassen Sie von Ihrem Händler die Sattelhöhe und Sitzposition einstellen. Vergewissern Sie sich, dass Sie mit diesen Einstellungen sicher anfahren und anhalten können.
Warnung!
Die Sattelstütze darf nicht über die „MIN. INSERTION”-Markierung herausgezogen werden! Die Markierung darf nicht sichtbar über der Oberkante des Sitzrohres sein, sonst kann die Sattelstütze brechen oder der Rahmen beschädigt werden.
Zusätzlich müssen die Schrauben der Sattelstütze mit dem entsprechenden Anzugsmoment angezogen sein, siehe „Anzugsmomente für Verschraubungen“. Bei einer zu losen Befestigung kann die Schraube überlasten und brechen. Dies kann zu einem Sturz führen.
Verstellbarer Vorbau
Einige E-Bikes sind mit einem verstellbaren Vorbau ausgestattet. Das Verstellen erfolgt ohne Werkzeug mittels Rast-Vorrichtung und Schnellspannhebel.
Winkelverstellung
- Öffnen Sie beide Schnellspannhebel A am Vorbauscharnier.
- Drücken Sie den seitlichen Knopf B und verstellen Sie den Vorbau in eine der drei Winkelpositionen. Lassen Sie den Knopf wieder los, sodass er einrastet (gegebenenfalls den Vorbau leicht hin- und herbewegen).
Achtung: Es dürfen nur die drei Vorbaupositionen mit eingerastetem Pin genutzt werden! - Immer zuerst den Schnellspannhebel A auf der Seite des Pins B schließen. Während der zweiten Hälfte des Verschlussweges muss die Hebelkraft deutlich zunehmen und das Schließen muss mit erheblichem Kraftaufwand erfolgen.
- Im eingerasteten Zustand müssen sich die roten Linien C seitlich am Vorbauscharnier decken.
- Falls die Klemmkraft nicht ausreicht, muss Ihr Fachhändler die Schnellspanner nachstellen.
Höhenverstellung
- Öffnen Sie den Schnellspannhebel D.
- Drücken Sie den Pin E und verstellen Sie den Vorbau in eine der fünf Höhenpositionen, bis der Pin E wieder einrastet.
- Richten Sie den Lenker gerade zur Fahrtrichtung aus und schließen Sie den Schnellspannhebel D wieder. Während der zweiten Hälfte des Verschlussweges muss die Hebelkraft deutlich zunehmen. Falls die Klemmkraft nicht ausreicht, muss die Vorspannung an der Rändelmutter bei geöffneten Schnellspanner erhöht werden.
Hinweis
Vergewissern Sie sich nach allen Veränderungen der Lenker- und Vorbauposition, dass sich die Züge und Leitungen nicht verhaken können. Alle Lenkbewegungen müssen problem- und gefahrlos durchführbar sein.
Warnung!
Der Vorbau darf nicht über die „MIN. INSERTION”-Markierung herausragen! Es dürfen nur die fünf Höhenpositionen mit eingerastetem Pin genutzt werden. Stellen Sie vor jeder Fahrt sicher, dass die Pins korrekt eingerastet und die Schnellspannhebel komplett geschlossen sind. Sollte sich der Lenker oder der Vorbau während der Fahrt von selbst verstellen, fahren Sie nicht weiter. Suchen Sie sofort Ihren Fachhändler auf, um den Vorbau kontrollieren zu lassen. Stürze und schwere Verletzungen können sonst die Folge sein.
Federung
Schlägt die Federung beim Fahren auf schlechten Fahrbahnstücken hör- oder spürbar durch, ist die Feder zu weich eingestellt. Die Vorspannung beziehungsweise der Druck muss erhöht werden. Genügt der Verstellbereich bei Stahlfedern nicht, lassen Sie die Feder von Ihrem Fachhändler austauschen.
Bremsanlage
Die Bremsen Ihres E-Bikes erlauben Ihnen, in jeder Fahrsituation mit geringen Handkräften eine hohe Bremsleistung zu erreichen. Der Bremsweg hängt aber auch vom Fahrkönnen ab. Dies lässt sich trainieren. Beim Bremsen verlagert sich das Gewicht nach vorne und das Hinterrad wird entlastet. Speziell beim Bergabfahren verschärft sich diese Problematik. Bei einer Vollbremsung müssen Sie deshalb versuchen, Ihr Gewicht so weit wie möglich nach hinten zu verlagern.
Warnung!
- Nässe setzt die Bremswirkung herab. Kalkulieren Sie bei Regen längere Bremswege ein!
- Achten Sie auf absolut fett- und ölfreie Bremsbeläge/-flächen und Felgen, damit die volle Bremsleistung gewährleistet ist!
- Vermeiden Sie den direkten Kontakt mit heißgebremsten Teilen der Bremse, insbesondere den Bremsscheiben. Dies kann zu Verbrennungen führen!
Hinweise
- Nutzen Sie stets Vorder- und Hinterradbremse gleichzeitig.
- Bremsen Sie auf Abfahrten möglichst in Intervallen, um einem Überhitzen der Bremsen entgegenzuwirken.
- Halten Sie nach längeren Bremsungen die Bremse nach dem Anhalten nicht gezogen.
- Bringen Sie die Bremsscheibe oder Felge nicht in Kontakt mit ölhaltigen Mitteln (zum Beispiel Pflege- oder Kettensprays).
- Unterbrechen Sie die Fahrt bei ungewöhnlichen Bremsgeräuschen sofort und suchen Sie Ihren Fachhändler auf.
- Überschreiten Sie keinesfalls das maximal zulässige Gesamtgewicht (E-Bike + Fahrer + Zuladung + Anhänger).
- Machen Sie sich mit den Bremsen vertraut. Üben Sie Notbremsungen abseits vom Straßenverkehr.
- Bei langen Abfahrten können die Bremsscheiben überhitzen. Legen Sie dann eine Pause zum Abkühlen ein.
Warnung!
Der Bremshebel darf nicht betätigt werden, wenn Ihr Rad liegt oder auf dem Kopf steht. Dadurch können Luftblasen in das hydraulische System gelangen, was ein Bremsversagen zur Folge haben kann.
Prüfen Sie nach jedem Transport, ob sich der Druckpunkt der Bremse weicher anfühlt als vor der Fahrt. Betätigen Sie dann die Bremse einige Male langsam. Dabei kann sich das Bremssystem wieder entlüften.
Bleibt der Druckpunkt weich, dürfen Sie nicht weiterfahren und der Fachhändler muss die Bremse entlüften.
Felgenbremsen
Bei Felgenbremsen kommt es durch Reibung zum Verschleiß der Bremsbeläge und Felgen. Der Verschleiß wird durch Fahrten im Regen begünstigt.
- Kontrollieren Sie regelmäßig die Bremsbeläge auf deren Verschleiß.
- Suchen Sie zum Wechsel der Bremsbeläge Ihren Fachhändler auf.
Die Laufräder Ihres E-Bikes mit Felgenbremsen sind mit einem Verschleißindikator A versehen. Ist dieser Indikator nicht mehr sichtbar, muss die Felge durch den Fachhändler getauscht werden. Eine Felgenflanke mit zu geringer Wandstärke kann durch den Reifendruck bersten.
Warnung!
Lassen Sie die Felge spätestens nach dem zweiten verbrauchten Satz Bremsbeläge vom Fachmann überprüfen. Abgenutzte Felgen können zu Materialversagen und Stürzen führen.
Scheibenbremsen
Bei Scheibenbremsen kommt es durch Reibung zum Verschleiß von Bremsbelägen und Bremsscheiben. Suchen Sie zum Wechsel der Bremsbeläge und Bremsscheiben Ihren Fachhändler auf. Der Verschleiß wird durch Dreck und Fahrten im Regen begünstigt.
Kontrollieren Sie regelmäßig die Bremsbeläge auf Verschleiß. Die Trägerplatte darf nicht in Kontakt mit der Bremsscheibe kommen. Ein verändertes Bremsgeräusch (Metall auf Metall) ist ein Anzeichen, dass Sie sofort Ihren Fachhändler aufsuchen sollten.
Warnung!
Bleiben Sie rotierenden Bremsscheiben fern. Es besteht Verletzungsgefahr an der scharfkantigen Bremsscheibe.
Hinweis
Nach dem Ausbau der Laufräder dürfen Sie die Bremshebel nicht mehr betätigen. Ansonsten werden die Bremsbeläge zusammengeschoben und das Laufrad lässt sich nicht mehr montieren. Verwenden Sie nach dem Ausbau der Laufräder die mitgelieferten Transportsicherungen, um einen ausreichenden Abstand zwischen den Bremsbelägen zu gewährleisten.
Rücktrittbremsen
Einige Riese & Müller Modelle sind zusätzlich mit einer Rücktrittbremse am Hinterrad ausgestattet. Bei Rücktrittbremsen bremsen Sie am besten mit waagerechten Kurbelarmen. Bei langen Bergabfahrten kann sich die Rücktrittbremse stark erhitzen und die Bremswirkung deutlich nachlassen. Durch Zuhilfenahme der Hinterradfelgenbremse können Sie die Rücktrittbremse entlasten.
Hinweis
Kontrollieren Sie vor jeder Fahrt und nach jeder Art von Montagearbeiten die Befestigung des Bremsankers. Dieser muss mit einer Schraube an einer Halterung am Rahmen befestigt sein oder mit einem Schraubenkopf in einem Langloch geführt sein. Das benötigte Anzugsdrehmoment finden Sie in Kapitel „Anzugsmomente für Verschraubungen“.
Kette / Riemenantrieb
Kette
Die Kette ist starken Belastungen ausgesetzt und gehört zu den Verschleißteilen an Ihrem
E-Bike. Die Lebensdauer Ihrer Kette können Sie durch regelmäßige Pflege verlängern.
Kettenpflege
- Reinigen Sie die Kette von Zeit zu Zeit mit einem trockenen Lappen.
- Tragen Sie ein geeignetes Schmiermittel aus dem Fachhandel auf.
- Vor allem nach Regenfahrten sollten Sie Ihre Kette schmieren.
- Bei E-Bikes mit Nabenschaltung muss regelmäßig die Kettenspannung kontrolliert und gegebenenfalls vom Fachhändler nachgestellt werden.
Kettenverschleiß und Ritzelverschleiß / Kettenwechsel
Ketten können je nach Beanspruchung nach ca. 2.000 km ihre Verschleißgrenze erreichen. Auch Ritzel verschleißen. Lassen Sie Kette und Ritzel regelmäßig vom Fachhändler prüfen und ggf. erneuern.
Warnung!
Eine nicht korrekt montierte oder gespannte Kette kann abspringen oder reißen und einen Sturz verursachen. Lassen Sie den Kettenwechsel von Ihrem Fachhändler durchführen.
Riemenantrieb
Der Riemenantrieb ist starken Belastungen ausgesetzt und gehört zu den Verschleißteilen an Ihrem E-Bike. Die Lebensdauer Ihres Riemenantriebs können Sie durch die richtige Handhabung und Pflege beeinflussen.
Riemenpflege
- Reinigen Sie den Riemen mit Wasser.
- Nicht mit Öl oder Fett schmieren (um ein Anhaften von Schmutz zu vermeiden), bei Bedarf (zum Beispiel bei Quietschen) ausschließlich mit Silikonpflege behandeln.
- Riemen nicht knicken, verdrehen, umwenden oder zusammenknoten – es besteht Bruchgefahr.
- Lassen Sie die Riemenspannung regelmäßig von Ihrem Fachhändler prüfen.
Riemenwechsel
Riemen sind äußerst strapazierfähig und langlebig, aber über längere Zeiträume verschleißen sie dennoch. Lassen Sie Ihren Riemen vom Fachhändler alle 2.000 km prüfen und, wenn nötig, erneuern.
Warnung!
Unsachgemäße Installation, Einstellung, Bedienung oder Wartung können zu Sach- und Personenschäden führen. Lassen Sie den Riemenwechsel von Ihrem Fachhändler durchführen.
Reifen und Luftdruck
Um eine gute Funktion und Pannensicherheit gewährleisten zu können, sollten die Reifen mit dem richtigen Luftdruck befüllt sein. Der empfohlene Luftdruck ist in bar und PSI auf der Flanke des Reifens angegeben. Sie sollten regelmäßig den Luftdruck kontrollieren und den Reifen mindestens einmal monatlich befüllen.
Warnung!
Pumpen Sie die Reifen gemäß der Angabe auf der Reifenflanke auf. Ein zu niedriger Luftdruck kann zu Schäden an der Reifenkarkasse und zu einem Durchschlagen beim Überfahren von Kanten führen. Pumpen Sie die Reifen nie über den maximal angegebenen Luftdruck auf, da sie sonst platzen oder von der Felge springen könnten. Ein Sturz kann die Folge sein.
Luftdruck HS-Modelle
Halten Sie bei HS-Modellen den Luftdruck gemäß Tabelle auf Ihrem Fahrzeug ein. Der Luftdruck ist abhängig von Reifentyp und Beladung.
Warnung!
Reifen, bei denen das Profil abgefahren ist oder deren Flanken brüchig sind, sollten Sie von Ihrem Fachhändler auswechseln lassen. Der innere Aufbau des Reifens kann Schaden nehmen, wenn Feuchtigkeit oder Schmutz hineingelangen.
Mangelhafte Felgenbänder (Kunststoffschicht zwischen Schlauch und Felge) müssen sofort ausgetauscht werden.
Achten Sie ebenso darauf, dass das Ventil gerade steht. Schäden an der Bereifung können im Extremfall zu einem plötzlichen Platzen des Schlauches führen. Ein Sturz kann die Folge sein.
Lichtanlage
Riese & Müller E-Bikes sind auf Dauerfahrlicht programmiert, um auch tagsüber im Straßenverkehr eine hohe Sichtbarkeit und Verkehrssicherheit zu gewährleisten. Der Stromverbrauch durch das Dauerfahrlicht ist vernachlässigbar. Bei S-Pedelecs ist das Dauerfahrlicht gesetzlich vorgeschrieben.
Abblendlicht einstellen
- Die Mitte des vom Frontlicht ausgeleuchteten Bereichs darf höchstens 10 m vor dem E-Bike auf die Fahrbahn treffen.
- Lösen Sie zum Einstellen des Abblendlichts die Befestigungsschraube des Scheinwerfers und neigen Sie diesen entsprechend.
- Ziehen Sie anschließend die Befestigungsschraube wieder an.
Aufblendlicht
Manche E-Bikes von Riese & Müller verfügen über ein zusätzliches Aufblendlicht. Bei aktiviertem Aufblendlicht leuchtet das Symbol A blau. Bei Gegenverkehr sollte das Aufblendlicht deaktiviert werden.
Gepäck- und Personentransport
Warnung!
Bei voller Beladung ändert sich das Fahrverhalten und der Bremsweg wird länger. Machen Sie einige Fahr- und Bremsversuche mit und ohne Zuladung, damit Sie sich an das geänderte Fahrverhalten gewöhnen.
Personentransport mit den Modellen: Multicharger, Multicharger Mixte und Multitinker
Folgende Altersfreigaben sind zu beachten:
| Alter | Zulässig |
|---|---|
| 1 bis 7 Jahre | Transport von 1 bis 2 Kindern mit Kindersitz (DIN EN 14344) im Safety-Bar-Kit |
| 7 bis 9 Jahre | Transport von 1 bis 2 Kindern im Safety-Bar-Kit * |
| > 7 Jahre | Transport von 1 Person (maximal 65 kg) mit Passagier-Kit |
* nicht zugelassen für HS-Bikes
Überprüfen Sie zudem vor der Nutzung die nationalen Vorschriften zum Personentransport.
Warnung!
Personen dürfen nur mit fachgerecht montiertem Speichenschutz befördert werden.
Hinweis
Kinder müssen immer von einem Erwachsenen in den Kindersitz oder auf die Sitzfläche gehoben werden.
Verwendung von zwei Kindersitzen: Das zulässige Maximalgewicht des hinteren Kindes beträgt 10 kg.
Versucht ein Kind eigenständig über die Reling zu klettern, kann das Fahrzeug kippen.
Wird das Safety-Bar-Kit ohne zusätzlichen Kindersitz genutzt, müssen Sitzpolster und gepolsterte Rückenlehne immer korrekt montiert sein.
Hinweis
Wird die Gewichtsfreigabe des Gepäckträgers (maximal 65 kg) nicht überschritten, darf ein Kind in einem Kindersitz (DIN EN 14344) gemeinsam mit einer Person (> 7 Jahre) transportiert werden. Der Kindersitz ist in diesem Fall in der hinteren Position zu montieren.
Personen und Lasten transportieren
Bevor Sie mit beladenem E-Bike losfahren, stellen Sie Folgendes sicher:
- Alle Anbauteile (zum Beispiel Korb oder Kindersitz) sind korrekt fixiert.
- Beladung und Handling des E-Bikes sind geprüft.
- Kinder sind angeschnallt und tragen einen Helm.
- Das schwerere Kind beziehungsweise die schwereren Kinder (bei Lastenrädern mit drei Kindersitzplätzen) sind möglichst auf den am nächsten zum Fahrer befindlichen Plätzen positioniert.
- Das zulässige Gesamtgewicht und die zulässige Gepäckträgerzuladung werden nicht überschritten. Beachten Sie, dass der Kindersitz auch als Zuladung zählt.
- Der Luftdruck in den Reifen ist korrekt.
- Die Ladung ist möglichst zentral am E-Bike (nah am Fahrer) und möglichst tief platziert.
- Das Gewicht der Ladung ist gleichmäßig am E-Bike verteilt. Das Gewicht der Ladung auf der rechten E-Bike-Seite entspricht dem Gewicht der Ladung auf der linken E-Bike- Seite.
- Die Ladung ist gegen Verrutschen und Herunter- beziehungsweise Herausfallen gesichert.
- Beleuchtung und Reflektoren sind nicht verdeckt.
- Es kann nichts in die Speichen geraten. Achten Sie insbesondere auch auf Ladegurte und Kinderfüße.
Warnung!
Fahren Sie nicht, wenn einer der Punkte nicht sichergestellt ist. Korb und / oder Kindersitz können sich bei ungenügender Fixierung lösen und schwere Unfälle verursachen.
Fahren Sie mit Beladung immer vorsichtig in sicherem Umfeld los und verändern oder reduzieren Sie die Beladung, wenn das Fahrverhalten nicht sicher ist oder es sich nicht sicher anfühlt.
Warnung!
Verwenden Sie ausschließlich geprüfte und sichere Kindersitze.
Kindersitze dürfen nicht an der Sattelstütze befestigt werden. Verhindern Sie, dass das Kind mit den Fingern in Federn und bewegliche Teile an Sattel und Sattelstütze hineingelangen kann.
Verhindern Sie, dass die Füße des Kindes in Kontakt mit beweglichen Teilen, wie Speichen oder Reifen, kommen. Es besteht erhebliche Verletzungsgefahr.
Wenn das E-Bike auf dem Ständer abgestellt ist, darf kein Kind im Kindersitz sitzen – Sie dürfen lediglich das Kind in den Sitz hinein- oder aus dem Sitz herausheben. Das Kind muss im Kindersitz von Ihnen gesichert werden.
Ist das Cargo-Bike auf dem Ständer abgestellt, dürfen Kinder nur in der Box des Cargo- Bikes sitzen, wenn sie angeschnallt sind und das Cargo-Bike sicher und eben steht.
Falls der Kindersitz in der Box des Cargo-Bikes eine Kopfstütze hat, ist sicherzustellen, dass diese ordnungsgemäß fixiert ist.
Hinweis
Nur Personen, die mindestens 16 Jahre alt sind, dürfen Kinder transportieren. Sie sollten zudem über gute fahrerische Fähigkeiten und Straßenverkehrskenntnisse verfügen.
Antrieb / Akku / Ladegerät
Alle Riese & Müller Modelle sind mit einem E-Antrieb ausgerüstet. Beachten Sie auch die zu Ihrem Antrieb zugehörigen Anleitungen und Videos auf www.r-m.de. Lesen Sie die Hinweise zur Handhabung von Akku und Ladegerät sorgfältig.
Sicherheitshinweise Antrieb
- Nehmen Sie keine Maßnahmen vor, die die Leistung oder die maximale unterstützte Geschwindigkeit Ihres Antriebs beeinflussen, insbesondere erhöhen.
Sie bewegen sich dadurch illegal ohne Versicherungsschutz, ohne Typgenehmigung und eventuell ohne erforderlichen Führerschein. - Nehmen Sie keinerlei Veränderungen an Ihrem E-Bike-System vor oder bringen Sie keine weiteren Produkte, die die Leistungsfähigkeit Ihres E-Bike-System erhöhen könnten, an.
Das Erlöschen der Garantie- und Sachmängelhaftungsansprüche ist die Folge. Durch einen unsachgemäßen Umgang mit dem System gefährden Sie zudem Ihre Sicherheit sowie die Sicherheit anderer Verkehrsteilnehmer und riskieren bei Unfällen, die auf die Manipulation zurückzuführen sind, hohe persönliche Haftungskosten und eventuell eine strafrechtliche Verfolgung. - Öffnen Sie die Antriebseinheit nicht selbst. Die Antriebseinheit darf nur von qualifiziertem Fachpersonal und nur mit Original-Ersatzteilen repariert werden.
Damit wird gewährleistet, dass die Sicherheit der Antriebseinheit erhalten bleibt. Bei unberechtigtem Öffnen der Antriebseinheit erlischt der Sachmängelhaftungsanspruch. - Alle an der Antriebseinheit montierten Komponenten und alle anderen Komponenten des E-Bike-Antriebs (zum Beispiel Kettenblatt, Aufnahme des Kettenblatts, Pedale) dürfen nur gegen zugelassene Komponenten ausgetauscht werden.
- Verwenden Sie nur zugelassene Original-Akkus.
Der Gebrauch anderer Akkus kann zu Verletzungen und Brandgefahr führen. Bei Gebrauch anderer Akkus wird keine Haftung oder Sachmängelhaftung übernommen. - Kommen Sie nach einer Fahrt nicht ungeschützt mit Händen oder Beinen mit dem Gehäuse der Antriebseinheit in Berührung.
Unter extremen Bedingungen, wie zum Beispiel anhaltend hohen Drehmomenten bei niedrigen Fahrgeschwindigkeiten oder bei Berg- und Lastenfahrten, können sehr hohe Temperaturen am Gehäuse erreicht werden. - Die Funktion der Schiebehilfe darf ausschließlich beim Schieben des E-Bikes verwendet werden.
Haben die Räder des E-Bikes beim Benutzen der Schiebehilfe keinen Bodenkontakt, besteht Verletzungsgefahr. - Wenn die Schiebehilfe eingeschaltet ist, drehen sich möglicherweise die Pedale mit.
Achten Sie bei aktiver Schiebehilfe darauf, dass Ihre Beine genügend Abstand zu den sich drehenden Pedalen haben. Es besteht Verletzungsgefahr. - Nehmen Sie den Akku aus dem E-Bike, bevor Sie Arbeiten (zum Beispiel Inspektion, Reparatur, Montage, Wartung, Arbeiten an Kette / Riemen etc.) am E-Bike beginnen, es transportieren oder lagern.
Bei unbeabsichtigter Aktivierung des E-Bike-Systems besteht Verletzungsgefahr.
Sicherheitshinweise Akku
- Öffnen Sie den Akku nicht.
Es besteht die Gefahr eines Kurzschlusses. Bei geöffnetem Akku entfällt jeglicher Garantieanspruch. - Schützen Sie den Akku vor Hitze (zum Beispiel auch vor dauernder Sonneneinstrahlung), Feuer und dem Eintauchen in Wasser. Lagern oder betreiben Sie den Akku nicht in der Nähe von heißen oder brennbaren Objekten.
Es besteht Explosionsgefahr. - Halten Sie den nicht benutzten Akku fern von Büroklammern, Münzen, Schlüsseln, Nägeln, Schrauben oder anderen kleinen Metallgegenständen, die eine Überbrückung der Kontakte verursachen könnten.
Ein Kurzschluss zwischen den Akku-Kontakten kann Verbrennungen oder Feuer zur Folge haben. Bei in diesem Zusammenhang entstandenen Kurzschlussschäden entfällt jeglicher Anspruch auf Garantie. - Vermeiden Sie mechanische Belastungen, Stöße oder starke Hitzeeinwirkung.
Diese könnten die Batteriezellen beschädigen und zum Austritt entflammbarer Inhaltsstoffe führen. - Platzieren Sie das Ladegerät und den Akku nicht in der Nähe von brennbaren Materialien. Laden Sie den Akku nur im trockenen Zustand und an einer brandsicheren Stelle auf.
Wegen der beim Laden auftretenden Erwärmung besteht Brandgefahr. - Der E-Bike-Akku darf nicht unbeaufsichtigt geladen werden.
- Bei falscher Anwendung kann Flüssigkeit aus dem Akku austreten. Vermeiden Sie den Kontakt damit. Bei zufälligem Kontakt mit Wasser abspülen. Wenn die Flüssigkeit in die Augen kommt, nehmen Sie zusätzlich ärztliche Hilfe in Anspruch.
Austretende Akkuflüssigkeit kann zu Hautreizungen oder Verbrennungen führen. - Bei Beschädigung oder unsachgemäßen Gebrauch des Akkus können Dämpfe austreten. Führen Sie Frischluft zu und suchen Sie bei Beschwerden einen Arzt auf.
Die Dämpfe können die Atemwege reizen. - Laden Sie den Akku nur mit passenden Original-Ladegeräten.
Bei Benutzung von nicht originalen Ladegeräten kann eine Brandgefahr nicht ausgeschlossen werden. - Verwenden Sie den Akku nur in Verbindung mit dem passenden Original- Antriebssystem.
Nur so wird der Akku vor gefährlicher Überlastung geschützt. - Benutzen Sie den Gepäckträger-Akku nicht als Griff.
Wenn Sie Ihr E-Bike am Akku hochheben, können Sie den Akku beschädigen. - Halten Sie den Akku von Kindern fern.
- Versenden Sie nie selbst einen Akku! Ein Akku gehört in die Kategorie Gefahrgut. Unter bestimmten Bedingungen kann er sich überhitzen und in Brand geraten.
Sicherheitshinweise Ladegerät
- Halten Sie das Ladegerät von Regen und Nässe fern.
Beim Eindringen von Wasser in ein Ladegerät besteht das Risiko eines elektrischen Schlages. - Laden Sie nur den passenden zugelassenen Akku. Die Akku-Spannung muss zur Akku-Ladespannung des Ladegeräts passen.
Ansonsten besteht Brand- und Explosionsgefahr. - Halten Sie das Ladegerät sauber.
Durch Verschmutzung besteht die Gefahr eines elektrischen Schlages. - Überprüfen Sie vor jeder Benutzung Ladegerät, Kabel und Stecker. Benutzen Sie das Ladegerät nicht, sofern Sie Schäden feststellen. Öffnen Sie das Ladegerät nicht.
Beschädigte Ladegeräte, Kabel und Stecker erhöhen das Risiko eines elektrischen Schlages. - Betreiben Sie das Ladegerät nicht auf leicht brennbarem Untergrund.
Es besteht Brandgefahr aufgrund der Abwärme des Ladegeräts während des Ladevorgangs. - Seien Sie vorsichtig, wenn Sie das Ladegerät während des Ladevorgangs berühren. Tragen Sie Schutzhandschuhe.
Das Ladegerät kann sich insbesondere bei hohen Umgebungstemperaturen stark erhitzen. - Kinder und Personen, die aufgrund ihrer physischen, sensorischen oder geistigen Fähigkeiten oder ihrer Unerfahrenheit oder Unkenntnis nicht in der Lage sind, das Ladegerät sicher zu bedienen, dürfen dieses nicht ohne Aufsicht oder Anweisung durch eine verantwortliche Person benutzen.
Andernfalls besteht die Gefahr von Fehlbedienung und Verletzungen.
Allgemeine Pflegehinweise
Warnung!
Bevor Sie an Ihrem E-Bike Arbeiten wie Wartung oder Pflege vornehmen, entnehmen Sie den Akku. Durch eine unbeabsichtigte Aktivierung des elektrischen Systems können sich die Pedale drehen, dies kann zu Verletzungen führen.
Regelmäßige Wartung
Pflegen Sie Ihr E-Bike regelmäßig und lassen Sie die turnusmäßigen Wartungsarbeiten von Ihrem Fachhändler durchführen. Nur dann kann die dauerhafte und sichere Funktion aller Teile gewährleistet werden. Muten Sie sich nur Arbeiten zu, bei denen Sie über das nötige Fachwissen und das passende Werkzeug verfügen.
Waschen und Pflegen
Schmutz und Salz vom Winterbetrieb oder aus der Meeresluft sowie Schweiß schaden Ihrem E-Bike. Deshalb sollten Sie Ihr E-Bike regelmäßig reinigen und vor Korrosion schützen.
- Nutzen Sie zur Reinigung klares Wasser und bei Bedarf zusätzlich etwas mildes Spülmittel, um Fettrückstände zu entfernen.
- Pflegen Sie nach dem Abtrocknen die Oberflächen mit entsprechendem Pflegemittel, das Sie bei Ihrem Fachhändler beziehen können.
- Zuletzt reiben Sie Ihr E-Bike mit einem weichen, sauberen und fusselfreien Tuch komplett ab.
Hinweis
Reinigen Sie Ihr E-Bike nicht auf kurze Distanz mit einem scharfen Wasserstrahl oder dem Dampfstrahler. Wasser kann sich an den Dichtungen vorbeidrücken und ins Innere der Lager vordringen sowie zu Schäden zum Beispiel an der Elektronik führen.
Inspektionen und Lebensdauer
Warnung!
Das E-Bike ist hoher Beanspruchung und Verschleiß ausgesetzt. Bauteile und Werkstoffe reagieren unterschiedlich auf Beanspruchung und Verschleiß. Plötzliches Bauteilversagen kann zu Schäden beim Fahrer führen. Jegliche Art von Rissen, Riefen oder Farbänderungen in hochbeanspruchten Bereichen können Anzeichen für den Ablauf der Lebensdauer sein. Die betreffenden Teile sollten geprüft und gegebenenfalls getauscht werden, um Schäden zu vermeiden.
Nach der Erstinspektion sollten Sie Ihr E-Bike in regelmäßigen Abständen warten lassen, siehe „E-Bike-Pass“. Wenn Sie regelmäßig auf schlechten Straßen, bei Regen oder bei feuchtem Klima fahren, verkürzen sich die Inspektionsintervalle.
Hinweis
Bringen Sie Ihr E-Bike nach spätestens 400 km zum Fachhändler zur Erstinspektion.
Hinweise zum Verschleiß
Einige Bauteile Ihres E-Bikes unterliegen funktionsbedingt einem Verschleiß. Die Höhe des Verschleißes ist von der Pflege, Wartung und Art der Nutzung (Fahrleistung, Regenfahrt, Schmutz, Salz etc.) abhängig. E-Bikes, die oft im Freien abgestellt werden, können durch Witterungseinflüsse ebenfalls erhöhtem Verschleiß unterliegen. Entsprechende Teile müssen bei Erreichen ihrer Verschleißgrenze getauscht werden. Hierzu gehören:
- Akkus
- Antriebskette oder -riemen
- Dichtungen
- Lager
- Schaltzüge
- Bremsbeläge
- Felgen oder Bremsscheiben
- Griffe
- Kettenräder, Ritzel oder Zahnriemenscheibe
- Reifen
- Sattelbezug
- Gepäckgummi
- Pedalflächen
- Ständerkappen
Kontrollieren Sie die genannten Verschleißteile regelmäßig und lassen Sie sie gegebenenfalls von Ihrem Fachhändler austauschen.
Die Bremsbeläge von Felgen- oder Scheibenbremsen unterliegen funktionsbedingt einem Verschleiß. Bei sportlicher Nutzung oder Fahrten in bergigem Terrain kann der Wechsel der Beläge in kurzen Abständen erforderlich werden.
Ein Austausch dieser Teile, der durch Verschleiß notwendig wird, unterliegt nicht der gesetzlichen Sachmängelhaftung.
Die Lagerungen und Dichtungen bei Federgabeln und gefederten Hinterbauten sind ständig in Bewegung, wenn das Fahrwerk arbeitet. Ebenso bewegen sich die Gelenke, Lager und Bauteile der Lenkung als auch Naben und Pedale. Durch Umwelteinflüsse kommt es zum Verschleiß dieser beweglichen Teile. Diese Bereiche müssen regelmäßig gereinigt und gewartet werden. Je nach Einsatzbedingungen kann nicht ausgeschlossen werden, dass die Teile aufgrund ihres Verschleißes ersetzt werden müssen.
Bei Nichteinhaltung der Montagevorschriften und Prüfintervalle können Sachmängelhaftung und Garantie erlöschen. Bitte beachten Sie die in Ihrer Betriebsanleitung skizzierten Prüfungen.
Laut der europäischen Genehmigungsverordnung (EU) Nr. 168/2013 beträgt die Dauerhaltbarkeit für ein E-Bike der Fahrzeugklasse L1e-B 16.500 km.
Gemäß seinem hohen Qualitätsanspruch setzt Riese & Müller bei allen E-Bikes eine Produktlebensdauer von 33.000 km an. Die Belastung auf ein E-Bike hängt allerdings stark von der Zuladung, dem Straßenzustand und vom Fahrstil ab.
Maßgeblicher Einflussfaktor ist das Fahrergewicht. Dem folgenden Diagramm können Sie die für Sie relevante Lebensdauer Ihres E-Bikes entnehmen:
Nach dem Ende der Produktlebensdauer ist keine Verkehrssicherheit mehr gewährleistet.
Recycling und Entsorgung
Je länger Sie Freude an Ihrem E-Bike von Riese & Müller haben, desto besser ist es für unsere Umwelt. Wenn Sie Ihr E-Bike nicht mehr nutzen möchten, denken Sie zunächst über eine weitere Verwendung durch andere Personen nach. Möchten Sie dennoch das
E-Bike oder ausgetauschte Komponenten entsorgen, beachten Sie bitte folgende Punkte:
Entsorgen Sie Ihr E-Bike und seine Komponenten nicht über den Hausmüll!
Antriebseinheit, Bordcomputer inkl. Bedieneinheit, Akku, Geschwindigkeitssensor, Zubehör und Verpackungen sollen einer umweltgerechten Wiederverwendung zugeführt werden.

Gemäß der europäischen Richtlinie 2012/19/EU müssen nicht mehr gebrauchsfähige Elektrogeräte und gemäß der europäischen Richtlinie 2006/66/EG müssen defekte oder verbrauchte Akkus / Batterien getrennt gesammelt und einer umweltgerechten Wiederverwendung zugeführt werden.
Bitte beachten Sie in Frankreich die Sortierinformationen für Endverbraucher (Info Tri):

Bitte beachten Sie, dass nationale Richtlinien und Gesetzgebungen abweichen können.
Gewichtsangaben
| Modell | Zulässiges Gesamtgewicht (Fahrer + E-Bike + Zuladung + Anhänger 11 ) [kg] | Gewicht E-Bike [kg] | Maximales Gewicht Fahrer [kg] | Maximale Beladung Gepäckträger [kg] | Maximale Beladung Frontträger [kg] |
|---|---|---|---|---|---|
| Charger | 140 6 / 150 / 160 3 | 26,2 – 29,7 | 110 / 125 3 | 27 1 ,5 | 5 |
| Cruiser | 150 | 25,4 – 27,8 | 110 | 25 1 | 5 |
| Culture | 150 | 21,3 – 21,6 | 110 | 27 1 | - |
| Delite | 140 6 / 150 | 24,2 – 31,3 | 110 | 20 1 | 5 |
| Homage | 140 6 / 150 | 28,5 – 36,8 | 110 | 20 1 | 5 |
| Load 60 / 75 | 200 | 35,5 – 53,5 4 | 110 | 15 1 | 657 |
| Multicharger | 175 | 27,2 – 33,0 4 | 110 | 65 8 | 5 / 8 2 |
| Multitinker | 200 | 34,0 – 39,8 4 | 110 | 65 8 | 5 / 8 2 |
| Nevo | 140 6 / 150 / 160 3 | 27,1 – 33,1 | 110 / 125 3 | 201 | 5 |
| Packster 70 | 200 | 34,9 – 61,0 4 | 110 | 27 1 / 15 9 | 65 7 |
| Roadster | 140 6 / 150 | 21,4 – 26,3 | 110 | 20 1 | 5 |
| Supercharger | 140 6 / 160 | 31,0 – 32,9 | 110 6 / 125 | 27 1 | 5 |
| Superdelite | 140 6 / 150 | 28,6 – 35,0 | 110 | 20 1 | 5 |
| Swing | 150 | 24,9 – 27,6 | 110 | 27 1 | 5 |
| Tinker | 135 | 21,9 – 23,8 | 110 | 25 1 | - |
| Transporter 65 / 85 | 220 10 | 45,2 – 55,5 4 | 110 | 20 1 | 100 7 |
| UBN | 135 | 18,5 – 23,5 | 100 | 15 1 | - |
- – inkl. Eigengewicht Korb
- – mit großem Cargo-Frontgepäckträger
- – für 25 km/h-GT-Modelle
- – Das Gewicht variiert je nach gewählter Ladeflächenoption.
- – beim Mixte DualBattery 20 kg
- – für HS-Modelle
- – Für ein sicheres Fahrverhalten muss der Ladungsschwerpunkt im hinteren Drittel der Ladefläche und in der unteren Laderaumhälfte liegen. Andernfalls verringert sich die maximale Beladung entsprechend.
- – Für ein sicheres Fahrverhalten muss der Ladungsschwerpunkt im vorderen Drittel des Gepäckträgers unterhalb der Gepäckträgeroberkante liegen. Andernfalls verringert sich die maximale Beladung entsprechend.
- – mit Control Technology Package
- – 200 kg in CH
- – Modellspezifische Informationen zur Anhängerfreigabe unter www.r-m.de/de/bikes/
Anzugsmomente für Verschraubungen
| Bauteil | Verschraubung | Anzugsmoment [Nm] |
|---|---|---|
| Bremsanker Rücktritt | Befestigungsschraube und Mutter | 9 |
| Bremshebel | Befestigungsschraube | 4 |
| Bremszange | Befestigungsschraube | 9 |
| Display + Fernbedienung | alle Schrauben | ** |
| Federelement | Befestigungsschraube | 9 |
| Freilaufnabe | Zahnkranzpaket-Sicherung | 40 |
| Gepäckträger | Befestigungsschraube M5 | 6 |
| Gepäckträger | Befestigungsschraube M6 | 9 |
| Hinteres Schwingenlager | M5-Klemmschraube Kugellager | 6 |
| Hinteres Schwingenlager | M6-Schraube Lagerzapfen | 9 |
| Hydraulische Bremsleitung | Magura | 4 |
| Hydraulische Bremsleitung | Tektro, Shimano | 5 |
| Kurbelsatz | Kurbelschrauben | 55 |
| Kurbelsatz | Kettenblattschrauben | 9 |
| Nabe | Achsmuttern bei Enviolo-Getriebenaben | 35 |
| Nabe | Achsmuttern bei Shimano-Getriebenaben | 35 |
| Nabe | Inbusspannachse für Rohloff | 7 |
| Pedale | 30 | |
| Seitenständer | Befestigungsschrauben und Mutter M6 | 13 |
| Sattelstütze | Befestigungsschraube der Sattelklemmung | ** |
| Sattelstütze | Klemmschraube am Sitzrohr | 5 |
| Schaltgriff | Shimano-Schalthebel | 5 |
| Schaltgriff | Drehschaltgriff | 2 |
| Schaltwerk | Befestigungsschrauben | 9 |
| Schaltwerk | Zugklemmschraube | 6 |
| Schaltwerk | Leitrollenbolzen | 4 |
| Schutzblech | Vorderrad – am Schutzblech direkt | 4 |
| Schutzblech | Vorderrad – Schutzblechstrebe an Gabelrohre | 1 |
| Schutzblech | Hinterrad – alle Schrauben (außer *) | 4 |
| Schutzblech | Hinterrad – Strebenlängenverstellung aus Kunststoff | 1 |
| Steckachse | Inbus-Steckachse – Vorderrad | ** |
| Steckachse | Inbus-Steckachse – Hinterrad | ** |
| Verstellbare Ausfallenden (Slider) | Befestigungsschrauben M8 | 18 |
| Vorbau | alle Schrauben | ** |
** siehe Angabe auf Bauteil
Load / Multitinker / Packster / Tinker / Transporter
| Bauteil | Verschraubung | Anzugsmoment [Nm] |
|---|---|---|
| Rahmen | Verbindung zwischen Vorder- und Hinterrahmen: 4 Schrauben M10 | 40 |
| Lenkgestänge (Load / Transporter) | Klemmung Lenkhebel an rechtem Gabelstandrohr: 4 Schrauben M5 | 8 |
| Lenkgestänge (Load / Transporter) | Kontermutter für Gelenkkopf M8 | 12 |
| Lenkgestänge (Load / Transporter) | Kardangelenk: Schrauben vertikal M8 mit Sicherungssplint | 12 |
| Lenkgestänge (Load / Transporter) | Schraube horizontal M8 mit Sicherungssplint | 2 |
| Lenkgestänge (Load / Transporter) | Verschraubungen M6 | 9 |
| Vorbau (Load / Multitinker / Tinker) | Klemmschrauben auf Schaftrohr M6 (4 Stück) | 10 |
| Vorbau (Load / Multitinker / Tinker) | vordere Klemmschrauben M6 (2 Stück) | 10 |
| Vorbau (Load / Multitinker / Tinker) | hintere Klemmschrauben M5 (2 Stück) | 7 |
| Seilzuglenkung (Packster) | vordere Seilscheibe | Schaftklemmschraube (2 Stück) |
| Seilzuglenkung (Packster) | vordere Seilscheibe | Aheadschraube |
| Seilzuglenkung (Packster) | vordere Seilscheibe | Schraube Klemmplatte M6 (2 Stück) |
| Seilzuglenkung (Packster) | vordere Seilscheibe | Schraube Seilsicherung M5 (2 Stück) |
| Seilzuglenkung (Packster) | Spannrollen-Achse M6 | 8 |
| Seilzuglenkung (Packster) | Spannrollen-Spannhebel M5 | 6 |
| Seilzuglenkung (Packster) | hintere Seilscheibe | Schaftklemmschraube |
| Seilzuglenkung (Packster) | hintere Seilscheibe | Aheadschraube |
| Seilzuglenkung (Packster) | hintere Seilscheibe | Schraube Klemmplatte M5 (2 Stück) |
| Seilzuglenkung (Packster) | Umlenkrollen-Achsschrauben M5 | 6 |
| Ständer | Kontermutter M8 | 12 |
| Ständer | Ringschraube und Mutter M5 | 6 |
** siehe Angabe auf Bauteil
Service- und Wartungsplan
Die mit „●“ gekennzeichneten Kontrollen können Sie selbst durchführen. Sollten bei den Überprüfungen Mängel erkennbar sein, leiten Sie umgehend geeignete Maßnahmen ein. Bei Fragen oder Unklarheiten hilft Ihnen Ihr Fachhändler. Die mit X gekennzeichneten Arbeiten sollten nur vom Fachhändler im Rahmen einer regelmäßigen Inspektion durchgeführt werden.
Hinweis
Verwenden Sie beim Austausch von Verschleißteilen und sicherheitsrelevanten Teilen nur originale oder passende und zugelassene Ersatzteile.
| Bauteil | Tätigkeit | Vor jeder Fahrt | 1. Inspektion nach spätestens 400 km | Alle 2.000 km oder jährlich | Hinweis / Sonstige Intervalle |
|---|---|---|---|---|---|
| Beleuchtung | Funktion und Befestigung prüfen | ● | X | X | |
| Bereifung | Luftdruck prüfen | ● | X | X | |
| Profilhöhe und Seitenwände kontrollieren | ● 2 | X | X | tauschen, wenn verschlissen | |
| Bremsen | Druckpunkt, Position zur Felge kontrollieren, Sichtkontrolle Beläge | ● | X | X | |
| Stärke Beläge, Scheibe, Felge und Anzugsmomente kontrollieren | X | X | tauschen, wenn verschlissen | ||
| Bremssystem | Sichtkontrolle auf Dichtigkeit | ● | X | X | |
| Federelement | Wartung, Funktionsprüfung | X | Servicevorgaben des Federungsherstellers beachten | ||
| Federgabel | Funktion, Spiel und Dichtigkeit prüfen | X | X | reinigen und schmieren / Servicevorgaben des Federungsherstellers beachten | |
| Felgen | Wandstärke / Verschleißindikator prüfen, Risskontrolle, Sichtkontrolle | ● 2 | X | X spätestens nach dem zweiten Satz Bremsbeläge | |
| tauschen, wenn verschlissen | |||||
| Hinterradschwinge | Funktion und Lagerspiel prüfen | X | Lager tauschen, wenn verschlissen | ||
| Kette | kontrollieren beziehungsweise schmieren | ● 2 | X | X | schmieren, wenn trocken oder rostig, bei Nabenschaltung ggf. nachspannen |
| Verschleiß prüfen beziehungsweise wechseln | X | ||||
| Kurbel | kontrollieren beziehungsweise nachziehen | X | X 1 | ||
| Verschleiß Kettenblatt prüfen | X | tauschen, wenn verschlissen | |||
| Lack / metallische Oberflächen | konservieren (außer Felgenflanken, Bremsscheiben) | ● | bei widrigen Wetterbedingungen häufiger notwendig | ||
| Laufräder | Speichenspannung prüfen | X | X | bei Bedarf spannen oder zentrieren | |
| Rundlauf prüfen | ● | X | X | ||
| Achsmuttern / Schnellspanner | ● | X | X | prüfen | |
| Lenker / Vorbau / Lenkgestänge | Sichtkontrolle, Vorhandensein Sicherungssplinte | ● | |||
| Anzugsmomente und Sicherungssplinte kontrollieren | X 1 | X 1 | |||
| austauschen | X nach Sturz, 25.000 km oder 5 Jahren (zuerst eintretender Fall) | ||||
| Lenkergriffe mit Schraubklemmung | festen Sitz kontrollieren | ● 2 | X 1 | X 1 | |
| Lenkungslager | Lagerspiel sensorisch prüfen | ● | X | X | bei Bedarf nachstellen, fetten oder tauschen |
| Naben | Lagerspiel, Lauf kontrollieren | X | bei Bedarf nachstellen, fetten oder tauschen | ||
| Pedale | Lagerspiel, Lauf kontrollieren | X | bei Bedarf nachstellen, fetten oder tauschen | ||
| Riemenantrieb | Riemenspannung, Verschleiß prüfen | X | X | bei Bedarf nachspannen oder wechseln (spätestens nach 20.000 km) | |
| Sattelklemmung | festen Sitz kontrollieren | ● 2 | |||
| Anzugsmomente kontrollieren | X 1 | X 1 | |||
| Sattelstütze | Sitzrohr reinigen | X | X nach 25.000 km tauschen | ||
| Schaltwerk | reinigen, schmieren | X | |||
| Schaltzüge | prüfen | X | X | bei Bedarf fetten oder ersetzen | |
| Scheibenbremsen | Verschraubung Bremsscheiben und Bremssättel kontrollieren | X 1 | X 1 | tauschen, wenn verschlissen | |
| Schnellspanner / Steckachse | festen Sitz kontrollieren | ● | X | X | |
| Schrauben und Muttern | kontrollieren beziehungsweise nachziehen | X 1 | X 1 | ||
| Schutzbleche | festen Sitz und Abstand zu Reifen kontrollieren | X 1 | X 1 | ||
| Seilzuglenkung Lastenrad | gleichmäßigen Lenkwiderstand, Lenkseilspannung, Lenkseil- klemmschrauben, Dämpfungssteuersatz, Verschraubungen und Lenkseillitzen prüfen | ● | X 1 | X 1 | Lenkseil tauschen, wenn einzelne Litzen gebrochen sind oder die Ummantelung beschädigt oder verschlissen ist |
| Ventile | geraden Sitz kontrollieren | ● | X | X |
- – Diese Verschraubungen müssen vom Fachhändler mittels (Bit-) Drehmomentwerkzeug kontrolliert werden.
- – Diese Punkte sind in regelmäßigen Abständen zu kontrollieren.
Übergabedokumentation
Für Kunde und Fachhändler (gilt nicht für Home Delivery)
Sehr geehrter Fachhändler,
bitte besprechen Sie das Übergabedokument gemeinsam mit dem Kunden. Die einzelnen Punkte werden durch die Unterschrift des Kunden bestätigt. Bewahren Sie das Übergabeprotokoll auf.
Unterschrift des Kunden
Unterschrift des Händlers
Ort und Datum
E-Bike-Pass
Bitte lassen Sie in diesem Fahrradpass sämtliche vom Fachhändler durchgeführte Inspektionen eintragen. Die über die gesetzlich vorgeschriebene Sachmängelhaftung hinausgehende Herstellergarantie gilt nur, wenn im Garantiefall der vollständig ausgefüllte Fahrradpass inklusive einer Kopie des Kundenkaufbelegs an die Firma Riese & Müller geschickt wird und wenn sämtliche im Fahrradpass aufgeführten Inspektionen vom Fachhändler durchgeführt und eingetragen wurden.
| Modell: | |
| Seriennummer: | |
| Rahmennummer: | |
| Rahmengröße: | |
| Farbe: | |
| Schaltung: | |
| Display-Nummer: | |
| Akkunummer: | |
| Schlüsselnummer: | |
| Die Übergabe wurde vorgenommen: | |
| Kaufdatum: |
Ort, Datum Stempel und Unterschrift des Händlers
Inspektion – nach spätestens 400 km
| Ausgetauschte oder reparierte Teile: | |
| Auftrags-Nr.: | |
| Datum: | |
| Stempel und Unterschrift des Händlers: |
Inspektion – nach spätestens 2.000 km oder 1 Jahr ab Verkaufsdatum
| Ausgetauschte oder reparierte Teile: | |
| Auftrags-Nr.: | |
| Datum: | |
| Stempel und Unterschrift des Händlers: |
Inspektion – nach spätestens 4.000 km oder 2 Jahren ab Verkaufsdatum
| Ausgetauschte oder reparierte Teile: | |
| Auftrags-Nr.: | |
| Datum: | |
| Stempel und Unterschrift des Händlers: |
Inspektion – nach spätestens 6.000 km oder 3 Jahren ab Verkaufsdatum
| Ausgetauschte oder reparierte Teile: | |
| Auftrags-Nr.: | |
| Datum: |
Stempel und Unterschrift des Händlers:
Inspektion – nach spätestens 8.000 km oder 4 Jahren ab Verkaufsdatum
| Ausgetauschte oder reparierte Teile: | |
| Auftrags-Nr.: | |
| Datum: |
Stempel und Unterschrift des Händlers:
Inspektion – nach spätestens 10.000 km oder 5 Jahren ab Verkaufsdatum
| Ausgetauschte oder reparierte Teile: | |
| Auftrags-Nr.: | |
| Datum: |
Stempel und Unterschrift des Händlers:
Inspektion – nach spätestens 12.000 km oder 6 Jahren ab Verkaufsdatum
| Ausgetauschte oder reparierte Teile: | |
| Auftrags-Nr.: | |
| Datum: |
Stempel und Unterschrift des Händlers:
Gesetzliche Sachmängelhaftung und Garantie
Gesetzliche Sachmängelhaftung (Gewährleistung)
Die gesetzliche Sachmängelhaftungsfrist für Ihr E-Bike beträgt in Europa mindestens zwei Jahre, gerechnet vom Zeitpunkt der Abholung Ihres E-Bikes bei Ihrem Fachhändler beziehungsweise der Zustellung bei Ihnen zu Hause bei Home Delivery. National kann die gesetzliche
Sachmängelhaftungsfrist abweichen, bitte informieren Sie sich über die länderspezifischen Gesetzgebungen.
Obwohl wir innerhalb der gesetzlichen Fristen für die Mängelfreiheit aller Komponenten einstehen, unterliegen einige Bauteile funktionsbedingt einem Verschleiß und müssen bei Erreichen ihrer Verschleißgrenze ausgetauscht werden.
Für eine Übersicht der Bauteile, die funktionsbedingt einem Verschleiß unterliegen, schauen Sie bitte in die Auflistung im Kapitel „Inspektionen und Lebensdauer“.
Müssen Verschleißteile aufgrund ihres Verschleißes ausgetauscht werden, fällt dies nicht unter die gesetzliche Sachmängelhaftung.
Garantie
Ungeachtet der gesetzlich vorgeschriebenen Sachmängelhaftung geben wir Ihnen bei allen E-Bike-Modellen gemäß unseren Garantiebedingungen fünf Jahre Garantie im Falle eines Rahmenbruchs. Weiterhin geben wir Ihnen eine freiwillige Garantie auf den Akku von zwei Jahren: Wir garantieren Ihnen, dass der Akku nach zwei Jahren oder 500 Ladezyklen (je nachdem, was zuerst erreicht wird) noch eine Kapazität von 60 % aufweist. Alle Garantieversprechen beziehen sich auf den Privatkunden im Ersterwerb gemäß unseren Garantiebedingungen.
Abbildungen und Tabellen
Bitte beachten Sie:
Die Verzeichnisse der Abbildungen und Tabellen werden dynamisch erzeugt und stehen nur in der Online-Vollversion dieser Anleitung zur Verfügung. Außerdem darf in Ihrem Webbrowser JavaScript nicht deaktiviert sein.
Abbildungen
Tabellen
Kontakt

Riese & Müller GmbH
Am Alten Graben 2
64367 Mühltal
Deutschland
www.facebook.com/rieseundmueller
↻ 2025-11-28 ⋅ 12:00